From an idea inspired by a pot roast to a tangible product, Marjorie Stewart Joyner made major strides in the hair care industry. On November 27, 1928, Joyner was granted a patent for her “Permanent Waving Machine.”
She was born on October 24, 1896, in Monterey, Virginia, and moved to Chicago as a teenager in 1912. While in Chicago, Joyner began studying cosmetology and became the first African American graduate of the A.B. Molar Beauty School.
She opened her own salon in 1916 and began training with Madam C. J. Walker, a fellow pioneer in the African American hair care and cosmetics industry. After a few years of training, she became the national supervisor of more than 200 Walker Beauty Schools.
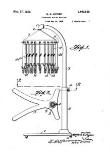
Joyner observed the time-consuming methods of straightening or curling hair being used at the time. She would go on to receive U.S. patent No. 1,693,515 for the waving machine and another patent in 1929 for a scalp protector to make the procedure more comfortable.

The idea for the invention came to her while she was cooking a pot roast one afternoon. It was being held together and heated from the inside with several long, thin rods, and from there, she envisioned a similar technique that could be used on clients.
It would require several rods to hang above a client’s head and allow for sections of the woman’s hair to be rolled at once. The machine could wave the hair of both white and black women, which helped to further its popularity amongst consumers.

Joyner’s invention was readily adopted by salons because of its ingenuity and ability to help both black and white clients straighten or curl their hair. Despite the wide acceptance, she didn’t receive any substantial compensation for her invention.
After the patent, Joyner’s work did not stop. She continued to make great developments in the beauty industry and even became a co-founder of the United Beauty School Owners and Teachers Association in 1945. During that same year, she also founded the Alpha Chi Pi Omega Sorority and Fraternity to help raise the professional standards of beauticians.









